Hunan Powerdrills Rock Machinery Co., Ltd. Hunan Powerdrills Rock Machinery Co., Ltd.
  • 
  • Accueil
  • Produits+
    • Outils de Forage Rocheux
    • Foreuses
    • Compresseurs d’Air
  • Applications
  • Qui sommes-nous ?
  • Contactez-nous
Outils de Forage Rocheux
  • Accueil
  • Produits
  • Outils de Forage Rocheux
  • Outils de Forage Géotechnique
  • Tiges de Forage Géotechnique
Outils de Forage Rocheux
Tiges de Forage Géotechnique
  • Tiges de Forage Géotechnique
  • Tiges de Forage Géotechnique
  • Tiges de Forage Géotechnique
  • Tiges de Forage Géotechnique

Tiges de Forage Géotechnique

Tiges de forage équipées d’inserts en métal dur et de filetages ronds longs, conçues pour une pénétration rapide, une forte résistance au couple et un avancement sûr du tubage en soutènement, renforcement de sol et stabilisation de talus.

Formulaire de demande
Téléchargements
Applications typiques

Fouilles de fondation, renforcement de sol, stabilisation de talus, voûtes parapluie en tunnel et autres travaux d’ancrage.

Travaux de soutènement
Travaux de soutènement
Renforcement de sol
Renforcement de sol
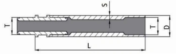
Spécifications techniques
Spécifications techniques
Longueur (L), mm Diamètre (D), mm Épaisseur (S), mm Filetage (T), mm Poids, kg Désignation
2000 54 8.5 42 19 54 tige interne
2000 76 10 56 32 76 tige interne
1500 89 15 78 41 89 tige interne
1500 102 15 90 48 102 tige interne
1. Configuration standard : filetage à gauche.
2. Connexion standard tige–adaptateur par filetage. Connexion par soudage par friction disponible sur demande.
Détails techniques
Détails techniques

Les tiges sont équipées de filetages prolongés dédiés, empêchant efficacement la séparation du corps de tige pendant la rotation.

Le profil de filetage rond offre une meilleure répartition des charges, une géométrie optimisée et une résistance accrue au desserrage lors du forage continu.

Prêt à démarrer un projet

Prêt à démarrer un projet ?

Contactez nos experts par téléphone ou par e-mail pour trouver la solution de forage la mieux adaptée à vos besoins.

Dites-nous comment nous pouvons vous aider.

  • Outils de Forage Rocheux
      Outils de Forage Fond de Trou – Ø 2" à 20" Outils de Forage Fond de Trou Grand Diamètre - Ø 12" à 28" Outils de Forage pour Marteau Hors Trou Outils de Forage à Circulation Inverse Systèmes du Tubage à l’Avancement Outils de Forage Géotechnique Tiges de Forage Pétrolier & Adaptateurs Autres Pièces
  • Foreuses
  • Compresseurs d’Air
  • Produits relatifs
  • Autres produits
  • Taillants de Tubage pour Forage Géotechnique Taillants de Tubage pour Forage Géotechnique
  • Tiges de Forage pour Puits Pétrolier Tiges de Forage pour Puits Pétrolier
  • Adaptateurs de Raccordement Adaptateurs de Raccordement
  • Autres Pièces Autres Pièces
Plus
Foreuses
Foreuses Foreuses de surface modulaires pour mines, fondations et puits d’eau. Adaptées au DTH, à l’ancrage et aux pieux solaires, disponibles en versions diesel, électrique ou bi-énergie. Contactez-nous.
Compresseurs d’Air
Compresseurs d’Air Compresseurs d’air pour forage, mines et construction. Gamme incluant compresseurs diesel portables, électriques mobiles et compresseurs à vis électriques fixes, assurant une alimentation en air stable et efficace. Contactez-nous.
Vous ne trouvez pas le produit recherché ? Vous pouvez également consulter les produits par application.
Exploration géologique
Exploration géologique Exploration de ressources minérales, échantillonnage et analyse
Forage
Forage Puits d’eau, puits géothermiques, puits pétroliers, méthane de houille, gaz de schiste
Mines
Mines Open-pit blast holes, production drilling, underground mining
Construction de fondations
Construction de fondations Ponts, immeubles de grande hauteur, fondations sur pieux portuaires et maritimes
En talus raides et fouilles profondes avec ancrage unilatéral, comment se comportent les outils en termes de résistance à la traction et de capacité d’auto-forage ?

Fabriqués en acier haute résistance épaissi avec filetages renforcés, ces outils assurent une capacité d’auto-forage efficace, une forte résistance à la traction et des opérations d’extraction sûres en terrains complexes.

Comment les outils à haute pénétration s’intègrent-ils aux systèmes d’ancrage auto-foreurs ?

Ils sont compatibles avec les systèmes d’ancrage auto-foreurs courants, assurant des connexions sécurisées, une pénétration rapide et un risque réduit de désengagement du filetage, adaptés aux chantiers à cadence élevée.

Expert en solutions complètes de forage rocheux

Grâce à de nombreuses années d’expérience internationale, nous proposons des outils de forage, foreuses et compresseurs parfaitement adaptés à vos projets les plus exigeants.

Produits
  • Outils de Forage Rocheux
  • Foreuses
  • Compresseurs d’Air
Applications
  • Mines
  • Forage
  • Exploration géologique
  • Construction de fondations
  • Projets hydrauliques & hydroélectriques
  • Infrastructures de transport
  • Stabilisation des talus & soutènement d’excavation
  • Travaux souterrains & génie civil
Contactez-nous
Berry
drillingtools1968@outlook.com
+86-18773189972
+86-18773189972