Autres Pièces
Marteau d’extraction
Le marteau d'extraction est conçu pour faciliter l’extraction de la colonne de forage. En cas de coincement ou d’effondrement du trou, il permet de réduire considérablement les temps d’arrêt et les coûts d’exploitation, améliorant ainsi l’efficacité globale du forage.
Banc de dévissage
Banc hydraulique entièrement automatique conçu pour le démontage rapide et efficace des outils de forage. Simple d’utilisation, il convient aux opérations intensives sur chantier.
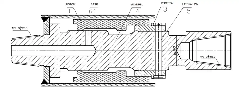
Amortisseur
- Absorbe efficacement les forces d’impact inverses générées par le marteau DTH, protégeant la tête de rotation de la foreuse, notamment en grand diamètre.
- Disponible en deux conceptions : Type fileté pour forage de puits d’eau, pétrole & gaz, gaz de schiste et géothermie ; Type hexagonal pour les fondations de grand diamètre.
- Compatible avec foreuses DTH, foreuses de puits d’eau, foreuses de pieux et foreuses rotatives.
Machine d’extraction de tubage
Équipement compact et léger spécialement conçu pour l’extraction des tubes de tubage. Sa structure étroite permet une utilisation dans des espaces confinés ou à accès limité.



