Outils de Forage Géotechnique
Les outils de forage géotechnique sont conçus pour les applications de soutènement, notamment les excavations profondes, la stabilisation de talus abrupts et l’ancrage de fondations. Fabriqués en acier haute résistance avec des filetages renforcés, ils garantissent un auto-forage fiable, une forte résistance en traction et une intégration sûre aux systèmes d’ancrage auto-foreurs.
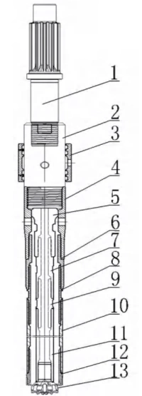
Présentation des composants du système DTH intégré
Le tube de tubage est directement connecté à la foreuse, évitant les défaillances d’avancement dues à la rupture du tube ou du sabot et garantissant un forage avec tubage continu.
Les tiges sont équipées de filetages prolongés dédiés, empêchant efficacement la séparation du corps de tige pendant la rotation.
Les taillants de tubage d’ancrage équipés d’inserts en métal dur offrent une capacité de fragmentation par impact nettement supérieure aux taillants à plaquettes carbure soudées, permettant une pénétration plus rapide et une meilleure efficacité de forage.

Ensemble d’outils de forage
- Adaptateur de queue
- Arbre de rinçage
- Bague de rinçage
- Adaptateur de rinçage
- Tige d’équilibrage
- Raccord pour tube externe
- Raccord pour tige interne
- Adaptateur de tube externe
- Adaptateur de tige interne
- Tube de tubage
- Tige de forage
- Taillant couronne
- Taillant interne




